Тема ЗВЕЗДЫ Магнитогидродинамические, плазменные и релятивистские процессы в астрофизике.

Научный руководитель д.ф.-м.н. Г.С. Бисноватый-Коган.

 

Послесвечение плотного молекулярного облака и образование направленных выбросов после прохождения космологического гамма-всплеска.

            Рассчитаны болометрические кривые блеска послесвечения после прохождения гамма-всплеска через молекулярное облако. Выявлена сильная зависимость формы и продолжительности кривой блеска послесвечения от распределения вещества в облаке, степени коллимации гамма-импульса и условий наблюдения. Достижение пикового значения может происходить как через 7 дней (Рис 1., гамма-всплеск находится на некотором отдалении от центра молекулярного облака с мелкомаштабными уплотнениями, кривые a,b,c), так и через 1-3 года (гамма-всплеск в центре однородного молекулярного облака, кривая d). Болометрическаяя светимость переизлученного сигнала может достигать величин 6.5*1042 эрг/с.

 

 

 

 

 

 

 

 

 

 

 

 

 

Рис 1.

 

Проведено моделирование взаимодействия мощного космологического гамма-всплеска (ГВ) с плотным молекулярным облаком (МО). Сделаны расчеты двумерных газодинамических течений для различных конфигураций облака (Рис.2). Показано, что в сферически-симметричном случае скорость движения газа не превышает  2000 км/с при энергии (изотропной) гамма всплеска 1.6*1053 эрг, и 5200 км/с при изотропной энергии гамма всплеска 1.6*1054 эрг, соответственно. Если звезда, прародитель ГВ, имела анизотропный ветер, то в близлежащем МО могла образоваться коническая полость. Гамма-импульс, распространяющийся в такой полости, приводит к образованию быстродвижущегося горячего сгустка вещества, где скорость движения газа достигает  18000 км/с,  при изотропной энергии ГВ, равной  1.6*1053 эрг. . Во всех рассчитанных случаях скорость движения вещества много меньше скорости света, объемы газа затронутые движением малы, а влияние движения газа на кривую блеска оптического послесвечения незначительно

   Распределение температуры в МО, прогретом излучением ГВ оказывается довольно сложным. Сразу после прхождения  всплеска распределение температуры в облаке вблизи основного направления Г В полностью определяется угловым распределением энергии в ГВ и расстоянием от источника. На краях распределения гамма-импульса (на большом удалении от оси всплеска) температура не превышает нескольких миллионов кельвинов, и вещество быстро остывает до температуры порядка 10000 К (рис. 2а). По мере того как фронт гамма-импульса продвигается во все более плотные области облака, температура, до которой он прогревает межзвездное вещество, падает, скорость остывания растет вследствие увеличения плотности вещества, , что приводит к утоньшению области горячего газа (рис. 2б). В этот момент область разогретого газа разрывается на две части. Одна следует за гамма-импульсом, и уменьшает свою геометрическую толщину, приобретая форму тонкого мениска. Вторая область имеет форму цилиндра переменного сечения; и медленно остывает, уменьшая свои геометрические размеры (рис. 2в). После прохождения центра МО гамма-импульс идет дальше по спадающей плотности. Уменьшение плотности приводит к падению темпа остывания вещества, что приводит к увеличению толщины области разогретого газа позади гамма-импульса (рис. 2г).

 

 

 

 

 

 

 

 

 

 

 

 

 

 

 

 

 

Рис. 2

В рамках модели переизлучения энергии мощного гамма импульса пылью плотного молекулярного облакф (Рис.3), дана интерпретация мощного инфракрасного послесвечения от яркого гамма-всплеска GRB041219a. При данном механизме переизлучения не ожидается (в соответствии с наблюдениями) возникновение оптического и ультрафиолетового послесвечения. По наблюдаемым свойствам инфракрасного излучения дается оценка угла раствора гамма-импульса, и получены следующие ограничени на свойства гамма всплеска и молекулярного облака:

-        Радиус облака R  <3/4 10^{18} см, при концентрации протонов 10^6  см^{-3};

-        Красное смещение z < 0:12;

-        Полная энергия ГВ (внутри угла коллимации) E < 10^{49} erg;

-        Угол коллимации  Theta > ¸5°.:

 

 

 

 

 

 

 

 

Рис.3. Схематическое представление модели. Стрелки указывают направление на удаленного наблюдателя, r=(2crt)^{0.5}.

 

Барков М.В, Бисноватый-Коган  Г.С,  Взаимодействие плотного молекулярного облака с космологическим гамма-всплеском и образование направленных выбросов. АЖ 82, 29-40, 2005. 

Барков М.В, Бисноватый-Коган  Г.С, Послесвечение плотного молекулярного облака после прохождения космологического гамма-всплеска. . АЖ 82, 685-697, 2005.

Барков М.В, Бисноватый-Коган  Г.С.  Инфракрасное послесвечение гамма-всплеска GRB041219 как следствие переизлучения на пыли в околозвездном облаке. Астрофизика, т 48, 8, 3, 439-444, 2005.

Барков М.В, Бисноватый-Коган  Г.С.   Gamma-ray burst interaction with dense interstellar medium. .Proceedings of the "Stellar end products" workshop, 13-15 April 2005, Granada, Spain, ed. M.A. P\'erez-Torres. Mem. S.A.It. 2005, Vol. 76, pр. 650-654.

 

Магниторотационные сверхновые. Формирование направленных струйных выбросов (джетов).

Получены новые результаты моделирования магниторотационного механизма взрыва сверхновой с коллапсирующим ядром. Данный механизм в настоящее время является практически  единственным механизмом, позволяющим получить в многомерных численных расчетах взрыв коллапсирующей сверхновой. Расчеты показывают, что при различных начальных конфигурациях магнитного поля возникает взрыв сверхновой, энергия взрыва составляет 0.5-0.6 10(51) эрг. Использование в качестве начального, магнитного поля дипольного типа симметрии, позволяет, в результате взрыва, получить слабоколлимированный направленный струйный выброс (джет).

 

 

 

 

 

 

 

 

 

 

 

 

 

 

 

 

Рис.4 Возникновение слабо коллимированного джета при магниторотационном взрыве с начальным магнитным полем дипольного типа.

Показано, также, что при эволюции магнитного поля возникает магниторотационная неустойчивость, которая существенно уменьшает время эволюции магнитного поля. Развитие магниторотационной неустойчивости (Рис.5) начинается при большом превышении тороидального поля над полоидальным, и приводит к генерации полоидальных вихрей, в которых скорость движения растет пропорционально росту поля. В результате это приводит к экспоненциальному росту поля, и к резкому сокращению времени развития магниторотационного взрыва при малых начальных магнитных полях.

Рис.5. Рост скорости вихревых движений (стрелки) с ростом магнитного поля (цвет).

Проделаны оценки характерного времени пересоединения магнитного поля. Показано, что магнитное пересоединение может произойти существенно позже формирования ударной волны, приводящей к взрыву сверхновой.

N.V.Ardeljan, G.S.Bisnovatyi-Kogan, S.G.Moiseenko.    Magnetorotational supernovae MNRAS 2005, 359, 333-344.

S.G.Moiseenko, G.S.Bisnovatyi-Kogan, N.V.Ardeljan. Magnetorotational Supernovae - The Supernova Mechanism That Works. Proceedings of the "Stellar end products" workshop, 13-15 April 2005, Granada, Spain, ed. M.A. P\'erez-Torres. Mem. S.A.It. 2005, Vol. 76, p575-579.

G.S.Bisnovatyi-Kogan, S.G.Moiseenko, N.V.Ardeljan.     Core collapse supernovae: magnetorotational explosion. Proc.  of the workshop "GRAVITY, ASTROPHYSICS AND STRINGS AT THE BLACK SEA" June 13-20, 2005, BULGARIA 23 pages (accepted);  astro-ph/0511173.

G.S.Bisnovatyi-Kogan. Regular Particle Acceleration in Relativistic Jets :  Astrophysics and Space Science, Volume 297,. 9-20,  2005:

G.S.Bisnovatyi-Kogan Very long-wave electromagnetic radiation from jets Mem. S.A.It. 2005, Vol. 76, pр. 122-126.

S.G.Moiseenko, G.S.Bisnovatyi-Kogan. Magnetorotational supernovae with jets (in preparation)

 

Аккреционные диски вокруг черных дыр с  магнитным полем и адвекцией

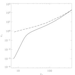
Было продолжено исследование моделей аккреционных дисков вокруг черных дыр. Результаты предыдущих исследований показали, насколько важен правильный учет эффекта адвекции (переноса энергии в диске вместе с движущейся материей к черной дыре) и переходной области в диске между оптически толстыми дальними областями и оптически тонкими внутренними областями  диска, где значение оптической толщи может меняться на несколько порядков (Рис.6а). При правильном учете этих эффектов, температура на внутреннй границе диска может приближаться к значению 10 ^9 K (Рис.6б), даже если не учитывать вращение черной дыры. Эффект вращения увеличит выделение энергии вблизи черной дыры, а , следовательно, и температуру аккрецируемого газа. При таких высоких температурах становится существенными эффекты рождения и аннигиляции электронно-позитронных пар.

Значительное влияние на природу аккреционного диска оказывает магнитное поле,  поэтому  следующим этапом наших исследований стало включение в систему уравнений дисковой аккреции магнитного поля. К насатоящему времени получена система уравнений с учетом магнитного поля в предположении равнораспределения, и сделан анализ особенностей полученной системы. Мы предполагаем получить распределение физических параметров аккреционного диска вдоль радиуса с учетом всех эффектов, включенных ранее в систему уравнений дисковой аккреции, а также магнитного поля и сравнить новые результаты с данными предыдущих исследований. Ожидается, что влияние магнитного поля может внести существенные изменения в структуру аккреционного диска.

Рис.6а.

Рис.6б

Зависимость эффективной оптической толщи (Рис.6а) и температуры (Рис.6б) от радиуса. Пунктирные линии соответсвуют решениям без учета адвекции. Сплошные линии показывают решения с учетом адвекции и переходной формулы для оптической толщи для скоростей аккреции больших критической.

-    Yu. V. Artemova, G. S. Bisnovatyi-Kogan, I. V. Igumenshchev, I. D. Novikov.  Black Hole Advective Accretion Disks with Optical Depth Transition. ApJ,  December 2005, v634, №3.
-    Yu. V. Artemova, G. S. Bisnovatyi-Kogan, I. V. Igumenshchev, I. D. Novikov. Optical depth transition in advective accretion disks around black holes. Proceedings of the "Stellar end products" workshop, 13-15 April 2005, Granada, Spain, ed. M.A. P\'ere.z Mem. S.A.It. 2005, Vol. 76, pр. 622-626.
-    Yu. V. Artemova, G. S. Bisnovatyi-Kogan, I. V. Igumenshchev, I. D. Novikov. Accretion disks with optical depth transition and advection

-        Mem. S.A.It. 2005, Vol. 76, pр. 84-88.

 

Ускорение ветров и джетов давлением излучения вблизи компактных объектов.

В 2005 году проводилось моделирование выбросов плазмы из аккреционных дисков вблизи компактных объектов (черных дыр, нейтронных звезд). Исследовался механизм ускорения плазмы излучением в сильном гравитационном поле. Целью исследования являлось моделирование неколлимированных выбросов (ветров) из аккреционных дисков вблизи компактных объектов.  Предполагается, что истечение формируется в результате ускорения плазмы давлением излучения в спектральных линиях. В настоящее время этот механизм считается наиболее важным с точки зрения формирования ветров в активных ядрах галактик (АЯГ). Источником плазмы и излучения считается аккреционный диск. Ранее предполагалось, что ускорение происходит из-за взаимодействия излучения аккреционного диска с движущейся плазмой в спектральных линиях. Сила давления излучения получалась в приближении Соболева (т.е. учитывая градиент скорости).  В наших работах было показано, что если ускорение происходит не слишком далеко от ЧД (в пределах 30rg) то наряду с градиентом скорости необходимо учитывать градиент гравитационного потенциала. Проведенные расчеты показали существенное увеличение эффективности ускорения. Так, для ветра, ускоряемого от 15rg, было получено дополнительное 40% увеличение эффективности ускорения. Следует отметить, что необходимость учета влияния сильного гравитационного поля на ускорение плазмы за счет давления излучения в линиях было впервые проведено в работе (Dorodnitsyn A.V., MNRAS, 2003, 339, 569) и далее развито в работе (Dorodnitsyn, A.V., Novikov I.D. 2005, ApJ, 621, 932).

 

 

 

 

 

Рис. 1. Результаты численного решения уравнения движения для ветра, ускоряемого давлением излучения в линиях. Сплошная линия - при учете гравитационного красного смещения, пунктирная – только с эффектом  Допплера (Теория Кастора, Абботта и Клейна 1975 г.)

-        Dorodnitsyn, A.V., Novikov I.D. Line-driven Winds Near Black Holes. 2005, ApJ, 621, 932-939.

-        Dorodnitsyn, A.V. On the formation of line-driven winds near compact objects . . Proceedings of the "Stellar end products" workshop, 13-15 April 2005, Granada, Spain, ed. M.A. P\'ere.z Mem. S.A.It. 2005, Vol. 76, pр. 617-621.

-        Dorodnitsyn, A.V. On the formation of line-driven winds near compact objects

-        Mem. S.A.It. 2005, Vol. 76, pр. 130-134.

 

Приближенная динамика эллипсоидов из темной материи

Приближенно исследуется коллапс бесстолкновительной темной материи и формирование крупномасштабных структур Вселенной. Динамика эллипсоида, состоящего из нерелятивистских частиц темной материи, апроксимируется системой обыкновенных дифференциальных уравнений, описывающих движение его осей. В данной модели эллипсоид предполагается трехосным, однородным и равномерно вращающимся. Развитие гравитационной неустойчивости и коллапс в темной материи характеризуются бесстолкновительной релаксацией. Бурная релаксация, потери массы и углового момента приняты во внимание феноменологически.

 

 

 

 

 

 

 

 

 

Рис. 8. Развитие неустойчивости при большом угловом моменте и формирование стационарной трехосной фигуры

 

Система решается численно для различных начальных параметров, характеризующих конфигурацию. Численно исследуются формирование равновесной конфигурации, вековая неустойчивость и превращение сфероида в трехосный эллипсоид. Аналитически получена простая формула для точки неустойчивости сжимающегося сфероида Маклорена.

-        G. S. Bisnovatyi-Kogan, O. Yu. Tsupko. Approximate dynamics of dark matter ellipsoids MNRAS 364, 833-842 (2005).

 

 

Аккреция вещества на нейтронные звезды.

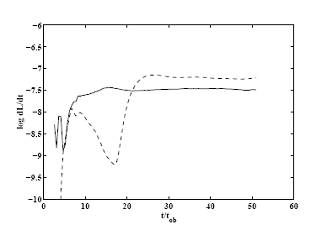
Исследована сферическая аккреция в режиме пропеллера на вращающуюся нейтронную звезду с помощью математического моделирования в рамках аксиально симметричной неидеальной МГД. В этом режиме вещество отбрасывается с экватора, где центробежная сила превышает гравитационное притяжение. Как показали расчеты, вещество выбрасывается из экваториальной области звезды в  виде дискообразного сверхзвукового потока. На больших расстояниях поток становится дозвуковым, и градиент давления становится важным для ускорения вещества. Получены поправки к формуле Бонди для скорости аккреции, и ее уменьшение с ростом скорости вращения и магнитного поля нейтронной звезды. Полученные результаты важны для оценок светимости одиночных нейтронных звезд за счет аккреции межзвездного газа, и светимости нейтронных звезд в двойных рентгеновских источниках.

Та же численная программа использовалась для исследования  взаимодействия с межзвездной средой быстро движущейся одиночной нейтронной звезды с сильным магнитным полем. Рассматривалась нейтронная звезда с полем порядка 10 15 Гс, так называемый «магнетар», на эволюционной стадии «пропеллера» -  на которой радиус коротации меньше радиуса магнитосферы, и быстро вращающаяся магнитосфера отбрасывает налетающее вещество.  В ходе моделирования была получена структура течения вещества в магнитосфере звезды и исследована эволюция углового момента звезды. Найдена зависимость темпа потери углового момента от магнитного поля и угловой скорости вращения звезды: dL/dt ~ 30.6.  Оценен темп замедления реальной звезды за счет эффекта пропеллера  в зависимости от ее угловой скорости и величины магнитного поля. Получено характерное время замедления магнетара  в 2 раза:  T = 1.5 х 103 B15-0.6 P52 лет.

 

Рис.9

Структура течения для звезды вращающейся с угловой скоростью  = 0.7  k и числа Маха M=3 спустя 50 оборотов звезды. Расстояние по осям измеряется в единицах радиуса Бонди, заливкой показана плотность, длина векторов пропорциональна полоидальной скорости. Тонкими линиями показаны силовые линии магнитного поля.

 

 

 

 

 

 

 

 

 

 

 

 

Рис.10. Эволюция полного потока углового момента через магнитосферу (сплошная линия) и через сечение z=0.6 (пунктирная линия). Полный поток через сечение z=0.6 становится постоянным прблизительно через 26 оборотов звезды.

 

-        Toropinа O.D.; Romanova M.M.; Toropin Yu.M.; Lovelace R.V.E.  Spherical Accretion to a Magnetized Neutron Star in the "Propeller" Regime. . Proceedings of the "Stellar end products" workshop, 13-15 April 2005, Granada, Spain, ed. M.A. P\'erez-Torres. Mem. S.A.It. 2005, Vol. 76, p508-512.

-        Toropina, O.D., Romanova, Yu.M.,  Lovelace, R.V.E.,  A fast moving neutron star in the “propeller” regime.  ApJ (в печати)

 

Исследование подкрученных радиопульсаров.

Радиопульсары в тесных двойных системах впервые были открыты в 1975, и их существование было предсказано нами годом раньше. Предсказанные свойства двойных ралиопульсаров: быстрое вращение из-за раскрутки при дисковой аккреции, и аномально слабое магнитное поле, заэкранированное падающим веществом, были полностью подтверждены наблюдениями. Открытие в 2004 г. тесной пары, состоящей из двух радиопульсаров показало, что их сравнительные свойства полностью совпадают с теоретическими предсказаниями. Были выполнены расчеты эволюции тесной пары под действием гравитационного излучения. Сделан обзор свойств подкрученных радиопульсаров, пути образования одиночных объектов в результате потери компаньона. Сделан вывод о том, что поиск пар, содержащих два пульсара, лучше всего проводить в области галактического диска, из-за отсутствия заметного толчка при образовании обеих нейтронных звезд. Это следует из медленности собственного движения пары, а также согласования осей вращения, которое должно было быть нарушено при сильном толчке. Сделан обзор применения двойных радиопульсаров для проверки фундаментальных законов физики, подтверждение с большой точностью справедливости общей теории относительности, а также физики плазменных процессов в магнитосферах пульсаров.

Построена аналитическая модель экранирования магнитного поля нейтронной звезды при аккреции плазмы из диска. Рассматривался соосный ротатор. При аккреции в падающем газе индуцируется электрический ток, магнитное поле которого противоположно напрвлено относительно исходного поля нейтронной звезды. Получено, что время существенного (более чем в 100 раз) затухания поля происходит примерно за ~1.6×107 лет, для скорости акреции 10-9 Msolar год-1, и начального магнитного момента  μi=1030Гс см3, что соответствует полю на поверхности 1012 Гс при радиусе звезды 106 см..   После прекращения аккреции возможна обратная диффузия магнитного поля наружу и его рост. Оценка времени диффузии дает время, превышающее >109 лет.

-        Бисноватый-Коган Г.С. Двойные и подкрученные радиопульсары: через 30 лет после наблюдательного открытия..Успехи физических наук, 2005  (принято к печати).

-        Lovelace R.V.E., Romanova M.M.,  G. S. Bisnovatyi-Kogan   Screening of the Magnetic Field of Disk Accreting Stars. ApJ, 2005, 625, 957-965.